Diskusné fórum
SLAVIA 603 na Sibíri
Tému založil užívateľ FROL | späť na zoznam tém
risopepi - 14.09.2014 08:11:40
Ahoj Timur, už dopredu sa tešíme. 
Здравствуй Тимур, предвкушаем радости. 
FROL - 13.09.2014 07:32:46
ďakujem!
Спасибо!
Teraz budem robiť SUHL Haenel-312.
Jozef. - 12.09.2014 17:30:49
Oчень красивая и тщательная работа. Мне очень нравится твоё дело. Много достижений с этим трудом. 
Поздравляю тебя.
FROL - 01.09.2014 13:17:09
Ukázalo sa, že je ohnutý moje hlaveň pušky. Bol to opraviť.
Оказалось, что у моей винтовки ствол загнут вверх. Пришлось исправить.
FROL - 01.09.2014 13:13:25
Vyhral kozene tesnenie! Pozrieť po 100 záberov.
Победил манжету! Вид после 100 выстрелов.
FROL - 21.08.2014 10:50:27
Prepáč. Pravdepodobne prekladateľ text bude celkom nepochopiteľné. Budem sa snažiť vysvetliť problém. Samostatne kožené tesnenie pre čerpadlá Predávame. Ale, ako naučil robiť im seba.
Ak urobím guľky high-rýchlosť tesnenie, ale žiadny piest v spodnej časti jemne.
A ak urobíte tesnenie nízko-produkoval hit matice v spodnej časti, ale rýchlosť zvyšuje.
Môže niekto videl, vyzeral skutočný tesnenie zo Slavia 603?
(Извините. Наверное переводчик сделает текст совсем непонятным. Попробую объяснить проблему. Отдельно кожаных манжет (kozene tesnenie) для насосов у нас не продают. Но я, вроде, научился их делать сам.
Если я сделаю манжету (tesnenie) высокую - нет скорости пули, но поршень бьёт в дно мягко.
А если сделать манжету (tesnenie) низкую - получается сильный удар гайкой в дно, но скорость пули увеличивается.
Может кто-то видел, как выглядела настоящая манжета (tesnenie) у Slavia 603?)
dynastes - 20.08.2014 16:51:41
ešte obrázok :
dynastes - 20.08.2014 07:19:55
neviem, ci pomoze tento obrazok :
risopepi urcite poradi !
FROL - 20.08.2014 02:49:25
dynastes - 19.08.2014 18:04:27
vynikajúca práca !
Jozef,ďakujem!

FROL - 20.08.2014 02:45:17
risopepi - 19.08.2014 19:20:48
ты сделал это аппарат ???
Nemôžete urobiť dobrú prácu kožené manžety. Ak robí dlhé (obr. 2), neexistuje žiadny obyvateľstva a kompresie. A ak krátke (obrázok 1) kompresia je, rýchlosť sa zvyšuje, ale piestu veľa bije matice v spodnej.
(Не могу добиться хорошей работы кожаной манжеты. Если делаю длинную (рисунок 2)- нет обтюрации и компрессии. А если короткую (рисунок 1) - компрессия есть, скорость пули вырастает, но поршень сильно бьёт гайкой в дно.)
risopepi - 19.08.2014 19:20:48
ты сделал это аппарат ??? 
risopepi - 19.08.2014 19:12:46
To je "továreňský výkon" tejto vzduchovky,169 m/s pri 0,5 g strelive 7,14 J
Это "заводнoе выступление" этой воздушкы, 169 м\с при ваге пулыъ 0,5 г = 7,14 Ж.
dynastes - 19.08.2014 18:04:27
vynikajúca práca !
FROL - 19.08.2014 14:35:54
Скорость 0.5 г.
FROL - 18.08.2014 12:04:37
Vyzerá to.
(Получилось похоже.)

FROL - 18.08.2014 12:02:07
Vyrobené kópiu stratil skrutku.
(Изготовил копию утерянного винта.)
FROL - 08.08.2014 14:38:23
Demontovať ich reliéf. Pozrite sa čo sa stalo nové manžety (koža) po 50 záberov.
(Разобрал свою Славию. Посмотрел, что стало с новой манжетой (кожей) после 50 выстрелов.)
FROL - 08.08.2014 11:36:35
Ďalšie možnosti obnovenia Slavia 603. To sa Gena62. Puška stratil pravosti. Ale produkuje 190 m/s guľkou s hmotnosťou 0,5 gramov.
(Ещё один вариант восстановления Славии 603. Его сделал Gena62. Винтовка потеряла аутентичность. Но выдаёт 190 м/с пулей весом 0.5 г.)
risopepi - 08.08.2014 08:25:10
Podľa kalkulátora je to 5,41 Joule-ov, čo priblížne zodpovedá výkonu tejto zbrane. (170 m/s)
FROL - 07.08.2014 12:44:57
Tu je rýchlosti guľka, ktorá váži 0.45 g.
(Вот скорость пули которая весит 0.45 г.)
FROL - 06.08.2014 11:11:02
Myslel som, že Slavia 603 rímsy nad piest ako Slavia 618.
V spodnej časti fľaše má špeciálne jamy pre stud piest
(Podľa "?" )
risopepi - 06.08.2014 07:39:43
Na Tvojich nákresoch ten stredový šrób je dlhý. Pri používaní bude narážať na dno valca a "zanituje" sa. Šrób by nemal vyčnievať z matky, samotná matka by mala byť doraz. Je to taká slabá stránka tejto zbrane, lebo ak sa matica uvolní, nárazy zničia závit na šróbe, preto pri skladaní by som odporučil použiť nejaké lepidlo na závit proti uvľneniu, alebo inak zaistiť.
risopepi - 05.08.2014 18:53:16
č.1 je správne, lebo tlak vzduchu má pritlačiť kožu k stene valca aby lepšie tesnila.
FROL - 05.08.2014 10:34:52
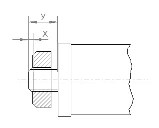
Som kreslil náčrty pre otázky.
čo myslíš? Aká je dĺžka "x" a "y"?
Ako ohýbať okolo kože matice?
"1" alebo "2"?
(Я нарисовал эскизы для вопросов.
Как вы думаете? какая длина "Х" и "У"?
Как должна огибать кожа гайку?
"1" или "2" ?)
FROL - 05.08.2014 09:04:54
Vaša piestu hornej krátke príčesky. Pravdepodobne odrezaná?
Na môj piest rovnováhu dlhšie patentky.
(У вашего поршня сверху короткая шпилька. Её наверное обрезали?
На моём поршне остаток шпильки более длинный.)
FROL - 05.08.2014 08:58:47
Ako jedna osoba mi povedal, som kreslil náčrt piest matice.
(Как мне рассказал один человек,я начертил эскиз гайки поршня.)
FROL - 05.08.2014 08:55:45
risopepi, ďakujem! Som takmer šťastná!
risopepi - 05.08.2014 08:47:37
Chcel som Ti odfotiť originál piest aj s "manžetou", ale mám podobný problém ako Ty.
Toto som v nej našiel:
risopepi - 05.08.2014 08:44:52
Mám aj ja jednu 603-ku, zatiaľ som sa ešte nedostal ktomu aby som ju zrepasoval, možno teraz som dostal inšpiráciu.
risopepi - 05.08.2014 08:28:48
Áno, loj sa dá nahradiť aj s parafínom, ale ak vieš zohnať loj, je to jemnejší materiál a lepší na mazanie.
1 2
Prihlásiť sa
Registrácia na súťaž - Východňárske HFT derby Jasov
Pravidlá diskusného fóra
Pravidlá HFT
Výpočet úsťovej energie
Novinky
09.09. Stránka risopepi.sk bola spustená.
Jazyk
Partneri
|
|
|
|
|
|
|
|
|